
磁翻板液位计在安装上测量技术方面必须了解
磁翻板液位计,工业生产中再熟悉不过的液位测量仪表,可用来直接指示密封容器中的液位高度,具有结构简单,直观可靠,经久耐用等优点,但容器中的介质必须是与钢、钢纸及石墨压环不起腐蚀作用的,一直以来深受用户们的青睐。
那么,磁翻板液位计的工作原理及如何作业测量?这就涉及到磁翻板液位计的工作原理。
磁翻板液位计可以说是基于连通器和磁性耦合原理工作的。若被测容器中的液位发生改变时,浮筒内的磁性浮子也随之上下浮动,浮子内的永久磁钢通过磁性耦合驱动浮筒外部的磁性翻片翻转180°,翻片两面分别涂有不同颜色(通常为红色和白色),以指示液位的位置。一般地,当容器内液位上升时,翻片呈红色,当容器内液位下降时,翻片由红色转变为白色,由此不难理解,指示器的红白交界处就是容器内液位的实际高度。
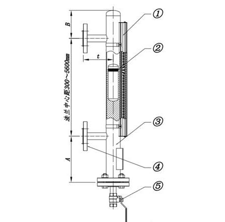
磁翻板液位计的整体结构,如图,图中序号所指分别代表:①指示器;②磁浮子;③浮筒;④连接法兰;⑤排污阀。
从原理上来看,用户们在采用磁翻板液位计时一定要对产品的工作原理测量方式及主要结构有所了解,才能在实际测量中发挥作用,达到测量精准的效果。
另外,还有一个事情需要您注意,磁翻板液位计如何正确的安装?
磁翻板液位计一般安装于容器侧部,少数情况下采用顶装形式。若采用顶装形式,则须注意其高度是否会受自然风力的影响,下面分别分析下安装方式注意事项。
侧装式磁翻板液位计在安装时需要注意的问题:
磁翻板液位计液位高度与技术影响。列如:测量10米高液位储罐的时候,如果直接选择做10米长的磁翻板液位计,1.产品会很笨拙;2.运输不便,所以建议合理采取分段处理,这样即不会有技术性误差(盲区影响)。磁翻板液位计的优势就是可以分体安装。就是说把10米分成两段或者三段,每段之间用法兰连接好。这样既可方便运输,费用也会大大降低。用户只需要在收到货物后,用普通工具把三段之间的法兰对接好。至于防腐与泄漏方面我们也已经考虑到了,具体问题具体分析,磁翻板液位计可以配带电动远传,并输出4-20mA的标准信号,以配合记录仪表,或工业控制计算机联网。
顶装式磁板液位计在安装时需要注意的问题:
顶装式磁翻板液位计与罐体的连接部分一般是选配DN80或DN100的法兰连接,如何觉得牢固性不够可以根据实际情况选配更大规格的连接法兰。一般情兄下DN80和DN100就够用。顶装式磁翻板液位计在安装高度较高达到4到5米时,建议在两边增加固定拉索,可以保证仪表在有较恶劣的测量环境中,比如现场震动较大,或有时遭遇碰撞的情况下,不受到损坏。
磁翻板液位计被广泛应用于测量石油、化学试剂、有机溶剂等液体,由于其具有许多使用性的技术,自面世以来备受合作伙伴欢迎,在业内亦引起不小反响。目前磁翻板液位计主要有以下型号可供选择:
标准型磁翻板液位计,316L不锈钢材质,经济实用;
经济型磁翻板液位计:304无缝不锈钢管,适用于大多数腐蚀性液体的测量,
内衬型磁翻板液位计:浮筒采用304内衬PTFE,抗强酸碱腐蚀;
塑料型磁翻板液位计:重量更轻,适应于低压强防腐性液体的测量。
磁翻板液位计清洗与维护:
1、使用中的液位计定期检查。清洗玻璃内外壁污垢,使液体显示清晰。
2、为了保证片动密超过计划作用,容器内的介质压力应大于0.2MPa,在打开上下阀时,阀杆退出转数不小于4转(使钢球封门时,不致于碰到阀杆的顶端。)
3、容器上与本玻璃管液位计连接的两法兰端面应保证在同一垂直平面内,否则在液位计安装后使阀门挠曲,以致玻璃管折断。
磁翻板液位计读数清晰、直观、可靠、结构简单、维修方便、经久耐用。除此之外,为保证测量稳定,需要定期对仪表外观及内部结构器件进行检查,确保测量的准确度,还可配干簧管远传变送器配套,达到远程实时监测控制的目的,根据用户需要,还可提供顶装、侧装、过程温度较高可达350℃、保温隔热(电伴热、蒸汽加热、真空夹套)、防霜附加装置等可供选择,以满足各种复杂工况的应用需求。
- [公司新闻] 磁翻板液位计有测量盲区吗 2021-12-06
- [行业新闻] 差压变送器该怎么维护 2021-11-29
- [行业新闻] 浮球液位计保养时注意事项 2021-11-25
- [公司新闻] 磁敏双色液位计与磁翻板液位计有什么区别 2021-11-16
- [公司新闻] 造成磁翻板液位计内浮子下沉的常见原因都 2021-11-10
- [技术专题] 石油储罐液位测量选择雷达液位计后的安装 2012-10-26
- [技术专题] 超声波液位计的优点和清洗方式 2012-10-20
- [技术专题] 怎样选购高温高压型磁翻板液位计 2012-10-20




